If the radius of earth is reduced to three-fourth of its present value without change in its mass then value of duration of the day of earth will be ______ hours 30 minutes.
Moment of inertia of a cylinder of mass length and radius about an axis passing through its centre and perpendicular to the axis of the cylinder is If such a cylinder is to be made for a given mass of a material, the ratio for it to have minimum possible is:
A uniform disc with mass and radius is mounted on a fixed horizontal axle as shown in figure. A block with mass hangs from a massless cord that is wrapped around the rim of the disc. During the fall of the block, the cord does not slip and there is no friction at the axle. The tension in the cord is _____ .
(Take )

Three balls of masses $2 \mathrm{~kg}, 4 \mathrm{~kg}$ and $6 \mathrm{~kg}$ respectively are arranged at centre of the edges of an equilateral triangle of side $2 \mathrm{~m}$. The moment of intertia of the system about an axis through the centroid and perpendicular to the plane of triangle, will be _______ $\mathrm{kg} \mathrm{m}^2$.
A sphere of mass and radius is rolling with an initial speed of goes up an inclined plane which makes an angle of with the horizontal plane, without slipping. How low will the sphere take to return to the starting point ?

One end of a straight uniform long bar is pivoted on horizontal table. It is released from rest when it makes an angle from the horizontal (see figure). Its angular speed when it hits the table is given as , where is an integer. The value of is ____________
A force acts at a point . Then the magnitude of torque about the point will be The value of is..........
A cylinder is rolling down on an inclined plane of inclination . Its acceleration during rolling down will be , where _______(use ).
Consider a badminton racket with length scales as shown in the figure.

If the mass of the linear and circular portions of the badminton racket are same () and the mass of the threads are negligible, the moment of inertia of the racket about an axis perpendicular to the handle and in the plane of the ring at, distance from the end of the handle will be ______.
Shown in the figure is a hollow ice-cream cone (it is open at top). If its mass is , radius of its top is and height, , then its moment of inertia about its axis is

Four point masses, each of mass , are fixed at the corners of a square of side I. The square is rotating with angular frequency about an axis passing through one of the corners of the square and parallel to tis diagonal, as shown in the figure. The angular momentum of the square about the axis is
Ratio of radius of gyration of a hollow sphere to that of a solid cylinder of equal mass, for moment of Inertia about their diameter axis $\mathrm{AB}$ as shown in figure is $\sqrt{8 / x}$. The value of $x$ is :

Four particles, each of mass are placed at four corners of a square of side . The moment of inertia of the system about an axis perpendicular to its plane and passing through one of its vertex is .
Two discs have moments of intertia and about their respective axes perpendicular to the plane and passing through the centre. They are rotating with angular speeds, and respectively and are brought into contact face to face with their axes of rotation coaxial. The loss in kinetic energy of the system in the process is given by:
A solid cylinder is released from rest from the top of an inclined plane of inclination and length . If the cylinder rolls without slipping, its speed upon reaching the bottom of the inclined plane is ______ . (Given )
A circular disc reaches from top to bottom of an inclined plane of length $l$. When it slips down the plane, if takes $t \mathrm{~s}$. When it rolls down the plane then it takes $\left(\frac{\alpha}{2}\right)^{1 / 2} t \mathrm{~s}$, where $\alpha$ is _________
Consider a disc of mass , radius , rotating with angular velocity of about an axis perpendicular to the plane of rotation. An identical disc is kept gently over the rotating disc along the same axis. The energy dissipated so that both the discs continue to rotate together without slipping is _________.
Four identical solid spheres each of mass and radius are placed with their centres on the four corners of a square of side . The moment of inertia of the system about one side of square where the axis of rotation is parallel to the plane of the square is :
Moment of Inertia (M.I.) of four bodies having same mass and radius are as follows
M.I. of solid sphere about its diameter
M.I. of solid cylinder about its axis
M.I. of solid circular disc about its diameter
M.I. of thin circular ring about its diameter
If then the value of will be _____ .
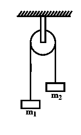
A uniformly thick wheel with moment of inertia and radius is free to rotate about its centre of mass (see fig). A massless string is wrapped over its rim and two blocks of masses and are attached to the ends of the string. The system Is released from rest. The angular speed of the wheel when descends by a distance is:
An object of mass is hanging from one end of a uniform rod of mass and length pivoted at its end on a vertical wall as shown in figure. It is supported by a cable such that the system is in equilibrium. The tension in the cable is:
(Take )
A block is simply released from the top of an inclined plane as shown in the figure above. The maximum compression in the spring when the block hits the spring is :